Games
Nova patente Ultrasonic Haptic da Sony sugere feedback sônico.
Uma patente recém-lançada da Sony aparentemente quer levar o feedback tátil no som para o próximo nível. A patente, que supostamente é para uma “interface háptica ultrassônica no ar”, parece ser voltada para realidade aumentada e virtual para aumentar a imersão sonora do jogador, de acordo com a seção abstrata da patente.
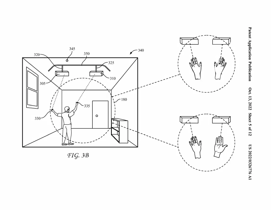
Essa implementação também permite uma cobertura de distâncias maiores e fornece uma gama mais ampla de interações, permitindo que um usuário estenda um apêndice em um espaço de trabalho mais amplo, proporcionando vários pontos de sensação ou interação abrangente sem sacrificar o conforto do usuário em relação à qualquer interação.
A imersão é uma grande parte de qualquer experiência de videogame e, junto com o toque, um dos mais importantes atualmente disponíveis é o som. Sons em certas áreas podem ajudar a fazer os jogadores se sentirem mais envolvidos na história ou invocar uma resposta mais emocional, e com a patente tátil ultrassônica da Sony, as pessoas que jogam VR ou jogos semelhantes se sentirão mais imersas através do toque, de acordo com a descrição da patente.

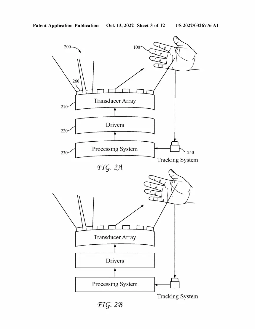
“Mais especificamente, a presente invenção diz respeito ao uso de energia ultrassônica para fornecer sensações táteis no ar com as mãos (ou outras partes do corpo) à medida que um usuário interage com objetos em um ambiente de computação imersivo.”
Com essa tecnologia envolvida no uso de jogos, as pessoas que jogam VR teriam uma sensação melhor do ambiente ao redor do jogo. Transformar-se em uma parede no jogo, por exemplo, geraria uma corrente de som ultrassônico que permitiria ao jogador saber que está tocando uma parede e realmente sentir que está tocando nela. Isso também, de acordo com a patente, permite um uso mais amplo dessa tecnologia.
“Há uma necessidade na arte de uma interface háptica no ar que transmita um grau de realismo igual ao implementado por uma experiência de computação imersiva sem a necessidade de instalações físicas complexas ou outros locais personalizados.”
Felizmente, esta patente tátil ultrassônica da Sony será capaz de cumprir seu objetivo e permitir que as pessoas tenham uma experiência de realidade virtual mais imersiva em casa, resta nos esperar se isto irá se tornar uma realidade.
Fonte: segmentnext